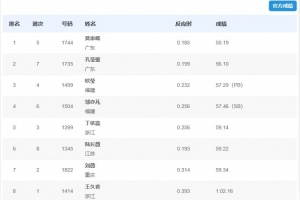
体育资讯11月17日讯 全运会田径女子400米栏决赛,莫家蝶以55秒19的成绩夺得金牌,孔莹蓥获得银牌,欧莹获得铜牌。
女子400米栏决赛成绩详情如下:
1 莫家蝶 55.19
2 孔莹蓥 56.10
3 欧莹 57.29(PB)
4 邹亦凡 57.46(SB)
5 丁依蕊 59.14
6 陆长薇 59.22
7 刘薇 59.34
8 王久香 1:02.16
上一篇: 陈妤颉小组第一晋级全运会女子100米决赛,决赛名单全部出炉
下一篇: 身体第一!18岁张展硕退出男子400米混合泳决赛,决赛4道空缺
比赛中
12-01 05:00
智甲
伊瓦顿
0
:
1
伊基克体育
观看比赛:
高清线路
更多
智利丙
体育联合会
利纳雷斯
NCAA
普雷里维尤农工大学
69
72
北德州大学
危地马拉全国联赛
危地马拉城通讯
夏拉祖
圣地亚哥城
梅里比拉
fox体育台
哪里能看英超免费直播
桑德兰伯恩茅斯今日赛事
nba雄鹿vs热火首发
今天森林狼vs老鹰录像
76人VS活塞
湖人新闻最新信息
nba首钢vs广东